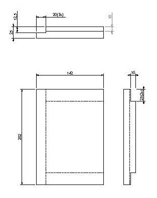
Vermiculite paroi arrière (D/G) Universal-V 60

https://www.ramonage.be/web/image/product.template/334846/image_1920?unique=959eda8

30,61 € 30.61 EUR 30,61 €

27,83 €

Not Available For Sale

Cette combinaison n'existe pas.

Conditions générales
Enlèvement uniquement sur place
Possibilité de livraison sous certaines conditions